Меню
Новые сообщения · Участники · Правила форума · Поиск · RSS
  • Страница 1 из 1
  • 1
Модератор форума: grabovski, Андреи  
подключение реле
марр
Рядовой
Группа: Пользователи
Сообщений: 1
Репутация: 0
Статус: Оффлайн
 
помогите пожалуйста подключить реле. имеется нефиксируемая кнопка, она расположена на (+) проводе потребителя, подскажите какое поставить реле и как его подключить чтоб срабатывало следующее действие- нажал кнопку питание подаётся, нажал повторно- питание прекращается
Soichi
Рядовой
Группа: Пользователи
Сообщений: 9
Репутация: 0
Статус: Оффлайн
 
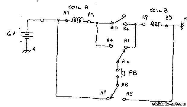
Такая штука на одном реле не делается. Это асинхронный Т-триггер, самое для вас простое это пойти в магазин и купить реле управления задними птф от 2114, оно организовано именно так , только управляется - а не +, ну это думаю не проблема.
Можно, конечно и на реле сделать будет так :
 
Схему можно упростить, но тогда придется использовать реле с 2 парами контактов


Можно на логических элементах, таких схем в инете полно.
Прикрепления: 6081011.jpg (41.2 Kb) · 2164045.jpg (22.0 Kb)
диамон
Полковник
Группа: Пользователи
Сообщений: 222
Репутация: 4
Статус: Оффлайн
 
марр, а зачем огород городить, есь же на ВАЗ 2110 реле задней п туманки
Регион 55 , май кар кирдык: автоэлектрик -+7913961семь 3шесть2
  • Страница 1 из 1
  • 1
Поиск: